Магазин запчастей для бытовой техники - Arlos
Москва
close
Выберите ваш регион
АбаканАлександровАльметьевскАнгарскАрзамасАрмавирАртемАрхангельскАстраханьАчинскБалаковоБалашихаБеларусьБелгородБердскБерезникиБийскБлаговещенскБратскБрянскВеликий НовгородВидноеВладивостокВладикавказВладимирВолгоградВолгодонскВолжскийВологдаВолховВоркутаВоронежВоскресенскВыборгГатчинаГеленджикГрозныйДедовскДербентДзержинскДзержинскийДимитровградДмитровДолгопрудныйДомодедовоДонецкЕвпаторияЕгорьевскЕкатеринбургЕлецЕссентукиЖелезногорскЖелезнодорожныйЖуковскийЗеленоградЗлатоустИвановоИвантеевкаИжевскИркутскИстраЙошкар-ОлаКазаньКалининградКалугаКаменск-УральскийКамышинКаспийскКемеровоКерчьКировКисловодскКлинКовровКоломнаКомсомольск-на-АмуреКопейскКоролёвКостромаКотельникиКрасногорскКраснодарКраснознаменскКрасноярскКурганКурскКызылЛенинск-КузнецкийЛипецкЛобняЛыткариноЛюберцыМагнитогорскМайкопМалаховкаМахачкалаМиассМоскваМурманскМуромМытищиНабережные ЧелныНазраньНальчикНаро-ФоминскНахабиноНаходкаНевинномысскНефтекамскНефтеюганскНижневартовскНижнекамскНижний НовгородНижний ТагилНовокузнецкНовокуйбышевскНовомосковскНовороссийскНовосибирскНовоуральскНовочебоксарскНовочеркасскНовошахтинскНовый УренгойНогинскНорильскНоябрьскОбнинскОдинцовоОктябрьскийОмскОрелОренбургОрехово-ЗуевоОрскПавловский ПосадПензаПервоуральскПермьПетрозаводскПетропавловск-КамчатскийПодольскПрокопьевскПсковПушкиноПятигорскРаменскоеРеутовРостов-на-ДонуРубцовскРыбинскРязаньСакиСалаватСамараСанкт-ПетербургСаранскСаратовСевастопольСеверодвинскСеверскСергиев ПосадСерпуховСимферопольСмоленскСосновый БорСочиСтавропольСтарый ОсколСтерлитамакСтупиноСургутСызраньСыктывкарТаганрогТамбовТверьТихвинТольяттиТомилиноТомскТроицкТулаТюменьУлан-УдэУльяновскУссурийскУсть-ИлимскУфаУхтаФеодосияФрязиноХабаровскХанты-МансийскХасавюртХимкиЧебоксарыЧелябинскЧереповецЧеркесскЧеховЧитаШахтыЩелковоЭлектростальЭлистаЭнгельсЮжно-СахалинскЯкутскЯлтаЯрославль
  • - бесплатно по РФ
    Автоперезвон. Работает по принципу: Вы позвонили на номер, мы сбрасываем звонок и перезваниваем через 3 секунды.
  • - по Москве
  • 8 (925) 663-83-63

Call-центр

пн-вс: 10:00-19:00

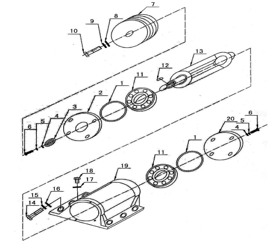
ЗАПЧАСТИ ДЛЯ ВИБРОПЛИТЫ БЕНЗИНОВОЙ ELITECH ПВТ 90ЧБВЛ (ВИБРАТОР)

NАртикулНазваниеСрок отгрузкиЦенаКупить
1 1202.001270 Прокладка бумажная ПВТ60БВЛ 279 р.
2 1202.001280 Крышка виброблока с отверстием 2.270 р.
3 1202.001290 Сальник 55х35х12. Коричневый. ПВТ 90.120БВЛ 724 р.
4 1202.001300 Шайба плоская D.8 мм
5 1202.001310 Шайба пружинная D.8 мм
6 1202.001320 Болт M8х25 мм
7 1202.001330 Шкив ведомый 2.494 р.
8 1202.001340 Шайба плоская D.10 мм
9 1202.001350 Шайба пружинная D.10 мм
10 1202.001360 Сапун M10х30 мм
11 5001.005600 Подшипник 6309/С3, 100х45х25 2.058 р.
11 1202.001370 Подшипник шариковый 6309
12 1202.001380 Шпонка 8Х20 CNP80D002-12 27 р.
13 1202.001390 Вал эксцентриковый CNP80D002-13 5.424 р.
14 1202.001400 Болт с головкой шестигранной M16х40 мм
15 1202.001410 Шайба пружинная D.16 мм
16 1202.001420 Шайба плоская D.16 мм
17 1202.001430 Шайба (алюминиевая)
18 1202.001440 Пробка заливная
19 1202.001450 Корпус виброблока
20 1202.001460 Крышка виброблока глухая
Найдено товаров: 21
1
▲ Наверх
0
8 (925) 663-83-63

Call-центр

пн-вс: 10:00-19:00

НАЙТИ ПО МОДЕЛИ
Введите номер заказа
Введите номер своего заказа, что бы узнать его текущий статус.
Что бы получить доступ к расширенным функциям, пройдите не сложную регистрацию. Зарегистрироваться